******CHN·必威(西汉姆联)官方网站-BETWAY SPORTS
 
English
 首页  学院概况  党群工作  科学研究  本科生培养  研究生培养  betway中国西汉姆联官网  校友工作  社会服务 
综合气象观测场
气象六要素之雨量
2014-11-25 10:42     (阅读:)

   SL3-1翻斗式雨量传感器使用气象台(站)、水文测站、农、林业等有关部门用以测量液体降水量、降水强度,仪器感应器用二芯电缆连接,输出机械触点信号。

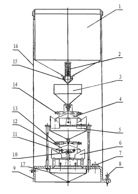
SL3-1型雨量传感器结构

注释:1、承水器;2、网罩;3、漏斗;4、上翻斗;5、汇集漏斗;6、计数漏斗7、水平泡;8、调整六角螺钉;9、底盘;10、干簧管;11、红黑接线柱;12、计量翻斗;13、容量调节螺钉;14、定位螺钉;15、清洗拆御帽;16、筒身;17、排水漏斗;

工作原理 

    雨水进入承水口,经过漏斗流入上翻斗上翻斗承积一定水量(<0.1 mm) 时,发生翻转,经汇集漏斗和节流管注入计量翻斗,把不同强度的自然降水调节为比较均匀的中等强度降水计量翻斗翻动一次为0.1mm 降水量,随之雨水由计量翻斗进入记数翻斗在记数翻斗中部装有一块小磁钢,磁钢的上面装有干簧开关,记数翻斗翻转一次,干簧管开关闭合一次,产生一个脉冲信号脉冲信号送至采集器中的计数器进行计数,每个计数为0.1mm 降水量

组成与主要技术参数

承水口径

200mm

环境温度

0~60

降水强度

<4mm/min

分辨率

0.1mm

测量范围

0~999.9mm

输出信号脉冲

0.1mm

最大允许误差为 ± 0.4 mm 10mm) 、± 4%> 10 mm)

关闭窗口

地址:四川省成都市西南航空港经济开发区学府路一段24号

电话:028-85966640    Email:dzgcxy@cuit.edu.cn

版权所有    CHN·必威(西汉姆联)官方网站-BETWAY SPORTS